| 索 引 号 | 11370812MB281530XF/2024-05542 | 公开方式 | 主动公开 |
| 发布机构 | 兖州区市场监管局 | 组配分类 | 服务指南及执法流程 |
| 成文日期 | 2024-12-03 | 废止日期 | |
| 有效性 |
济宁市兖州区市场监督管理局行政许可服务指南及执法流程
发布日期:
2024-12-03
14:35
信息来源:兖州区市场监管局
浏览次数:
一、执法事项名称
外商投资企业设立登记
二、受理机构
济宁市兖州区市场监督管理局外商投资企业科
三、审批机构
济宁市兖州区市场监督管理局外商投资企业科
四、受理条件
属权限内受理范围、符合相关产业政策和法律法规要求,申请材料齐全、符合法定形式,即可办理
五、办理时限
法定时限
六、办公电话、地址、时间
办公地址:济宁市兖州区龙桥街道扬州南路2号为民服务中心三楼外资企业登记窗口G45
办公时间:8:30-12:00,14:00-18:00(夏季)13:30-17:30(冬季)(工作日)
联系电话:0537-3128500、0537-3120887
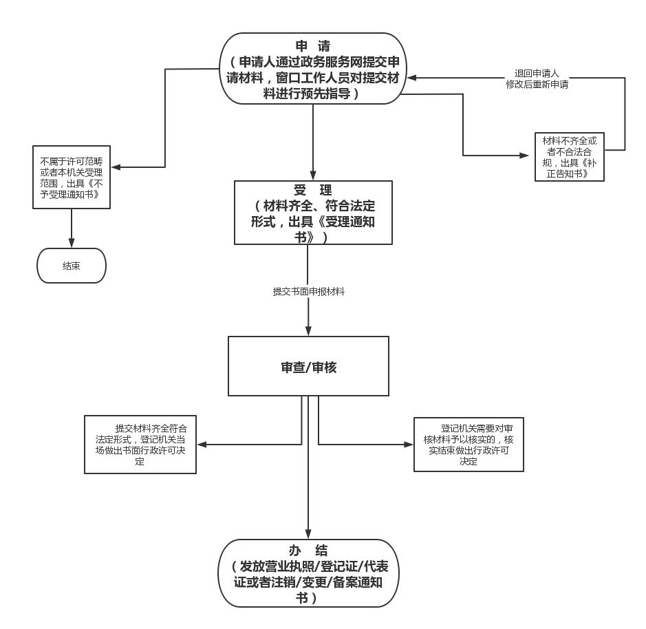
七、执法流程图
