| 索 引 号 | 11370812004311244X/2024-05843 | 公开方式 | 主动公开 |
| 发布机构 | 兖州区应急管理局 | 组配分类 | 服务指南及执法流程 |
| 成文日期 | 2024-12-12 | 废止日期 | |
| 有效性 |
济宁市兖州区应急管理局行政许可服务指南及执法流程
发布日期:
2024-12-12
08:56
信息来源:兖州区应急管理局
浏览次数:
一、执法事项名称
生产、储存危险化学品建设项目安全条件审查、
生产、储存危险化学品建设项目安全设施设计审查
危险化学品经营许可
烟花爆竹经营许可
二、受理机构
济宁市兖州区应急管理局政策法规科
三、审批机构
济宁市兖州区应急管理局政策法规科
四、受理条件
属权限内受理范围、符合相关产业政策和法律法规要求,申请材料齐全、符合法定形式,即可办理
五、办理时限
法定时限
六、办公电话、地址、时间
办公地址:济宁市兖州区为民服务中心南楼417
办公时间:8:30-12:00,14:00-18:00(夏季)13:30-17:30(冬季)(工作日)
联系电话:0537-3420200、0537-3128507
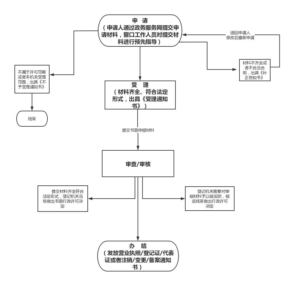
七、执法流程图
