| 索 引 号 | 1137081255522020XE/2023-02747 | 公开方式 | 主动公开 |
| 发布机构 | 兖州区人社局 | 组配分类 | 服务指南及执法流程 |
| 成文日期 | 2023-06-02 | 废止日期 | |
| 有效性 |
济宁市兖州区人力资源和社会保障局行政强制服务指南及执法流程(2023年)
发布日期:
2023-06-02
11:41
信息来源:兖州区人社局
浏览次数:
一、执法事项名称
1、采取证据登记保存措施
2、对用人单位逾期未缴纳或者补足社会保险费的划拨
3、加处罚款
4、社会保险费滞纳金征收。
二、受理机构
兖州区人力资源和社会保障局综合执法大队
三、审批机构
兖州区人力资源和社会保障局
四、受理条件
1、行政机关在收集证据时,可以采取抽样取证的方法;在证据可能灭失或者以后难以取得的情况下,经行政机关负责人批准,可以先行登记保存。
2、用人单位未按规定申报、缴纳社会保险费或未按时足额缴纳社会保险费的;因瞒报、漏报职工人数、缴费基数等事项而少缴社会保险费的;经社会保险经办机构稽核、劳动保险监察机构查处、社会保险基金监督部门监督检查等发现用人单位未如实申报造成漏缴、少缴社会保险费,下达责令改正拒不执行的;其他需要补缴社会保险费的情形。
3、当事人逾期不履行行政处罚决定的。
4、用人单位未按时足额缴纳社会保险费的,由社会保险费征收机构责令限期缴纳或者补足,并自欠缴之日起,按日加收万分之五的滞纳金。
五、办理时限
法定时限
六、办公电话、地址、时间
办公电话:0537-3480139
办公地址:兖州区扬州南路为民服务中心8楼、11楼
办公时间:8:30-12:00,14:00-18:00(夏季)13:30-17:30(冬季)(工作日)
七、执法流程图
采取证据登记保存流程图

加处罚款流程图

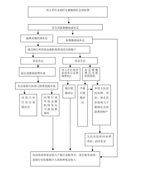
对用人单位逾期未缴纳或者补足社会保险费的划拨流程图

社会保险费滞纳金征收流程图
